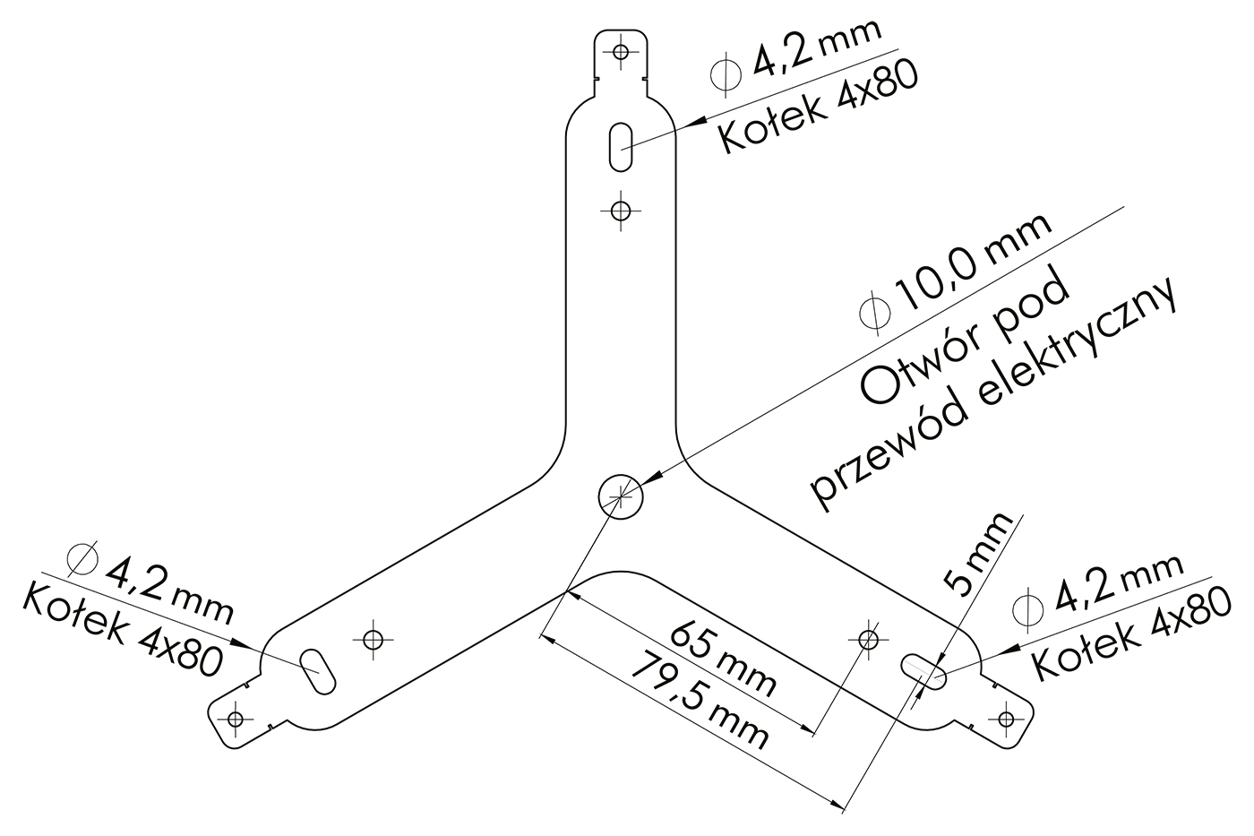
Okap wyspowy Ceramic Silver

https://nortberg.pl/okap-wyspowy-ceramic-silver.html