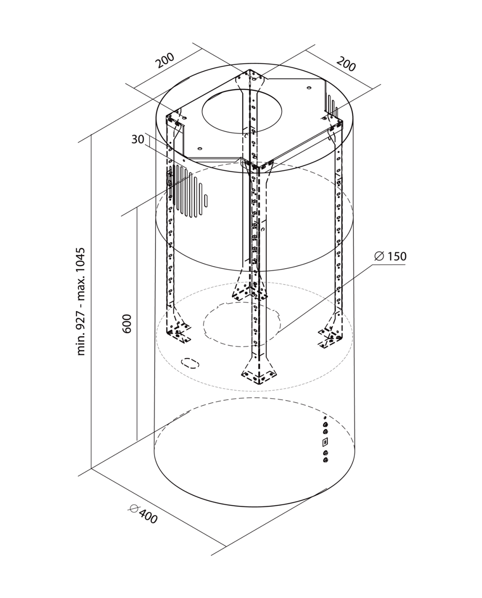
Okap wyspowy Tubo Kashmir Gesture Control BLDC

https://nortberg.pl/okap-wyspowy-tubo-kashmir-gesture-control-bldc.html